rozteč děr

Moderátori: Rope, baffy, viteon, Kleki, Cvrček

rozteč děr

Poslaťod divizion » Štv 3. Máj 2007, 5:55

nazdar chlapy jaka je prosim vas roztec der na kolech na X2?
Obrázok užívateľa
divizion
V.I.P.
V.I.P.
 
Príspevky: 514
Registrovaný: Pia 20. Apr 2007, 16:17
Bydlisko: Olomoucko

Poslaťod Luky » Štv 3. Máj 2007, 6:00

4X108 a střed je 65,1.
BLACK PEARL
Obrázok užívateľa
Luky
V.I.P.
V.I.P.
 
Príspevky: 499
Registrovaný: Štv 22. Jún 2006, 22:08
Bydlisko: Kolín
Vůz: Citroen Xsara 1.6 16V, r.v. 2002, černá

Poslaťod divizion » Štv 3. Máj 2007, 6:02

Luky píše:4X108 a střed je 65,1.

Děkuji
Obrázok užívateľa
divizion
V.I.P.
V.I.P.
 
Príspevky: 514
Registrovaný: Pia 20. Apr 2007, 16:17
Bydlisko: Olomoucko

Poslaťod divizion » Štv 3. Máj 2007, 6:03

tam myslim pasuji kola i z peugota,ľe?
Obrázok užívateľa
divizion
V.I.P.
V.I.P.
 
Príspevky: 514
Registrovaný: Pia 20. Apr 2007, 16:17
Bydlisko: Olomoucko

Poslaťod bleriot11 » Štv 3. Máj 2007, 9:40

ano :)
BreakII,2.0Hdi na plecháčích překoná Vaše představy.
Obrázok užívateľa
bleriot11
V.I.P.
V.I.P.
 
Príspevky: 1447
Registrovaný: Pia 29. Dec 2006, 19:32
Bydlisko: Kutnohorsko,J.Hradec
Vůz: X2-BREAK ,2.0hdi- sloužila mi 10 let-nyní C-Crosser

Poslaťod Luky » Štv 3. Máj 2007, 13:47

Pesně tak, jen pozor na ET
BLACK PEARL
Obrázok užívateľa
Luky
V.I.P.
V.I.P.
 
Príspevky: 499
Registrovaný: Štv 22. Jún 2006, 22:08
Bydlisko: Kolín
Vůz: Citroen Xsara 1.6 16V, r.v. 2002, černá

Poslaťod divizion » Štv 3. Máj 2007, 22:38

Luky píše:Pesně tak, jen pozor na ET

co vlastne znamena to ET??
Obrázok užívateľa
divizion
V.I.P.
V.I.P.
 
Príspevky: 514
Registrovaný: Pia 20. Apr 2007, 16:17
Bydlisko: Olomoucko

Poslaťod jan452 » Štv 3. Máj 2007, 22:53

Zjednoduąene povedané - vzdialenos» okraja disku kolesa (toho kde je osadená pneumatika) od dosadacej plochy disku disku kolesa (strednej časti) na náboj nápravy. Ale prelistuj si poriadne toto fórum, bolo to tu podrobne rozoberané uľ x-krát.
Xsara Break 1,8i Exclusive - 98
Obrázok užívateľa
jan452
Profesionál
Profesionál
 
Príspevky: 208
Registrovaný: Pia 19. Jan 2007, 18:29
Bydlisko: Zvolen - SR
Vůz: Xsara I Break, 1998, 1,8i 8v Exclusive

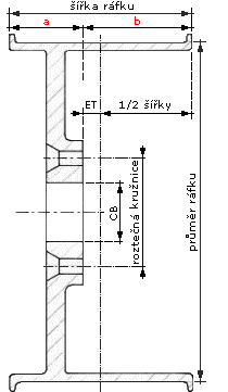
Poslaťod CHiP » Pia 4. Máj 2007, 10:44

Z tohohle obrázku musí ET pochopit kaľdý: :D
Prílohy
et.gif
et.gif (7.4 KiB) Zobrazené 9287 krát
Obrázok užívateľa
CHiP
V.I.P.
V.I.P.
 
Príspevky: 1119
Registrovaný: Štv 9. Mar 2006, 17:48

Poslaťod divizion » Pia 4. Máj 2007, 18:59

CHiP píše:Z tohohle obrázku musí ET pochopit kaľdý: :D

Tohle to chapu,dekuji
Jen tak mimochodem nemel by jste nekdo na prodej elektrony???
Obrázok užívateľa
divizion
V.I.P.
V.I.P.
 
Príspevky: 514
Registrovaný: Pia 20. Apr 2007, 16:17
Bydlisko: Olomoucko


Späť na Podvozek

Kto je on-line

Užívatelia prezerajúci fórum: Žiadny registrovaný užívateľ nie je prítomný a 8 hostia

cron