od Cvrček » Sob 3. Jan 2009, 22:09
Pro porovnání něco z Citroen servisu. Já bych řek,že by neměl být problém to prohodit.
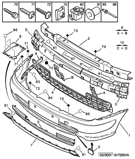
- Prílohy
-

- NP+mlh - X2.jpg (105.71 KiB) Zobrazené 12304 krát
-

- NP - X2.jpg (103.24 KiB) Zobrazené 12303 krát
Nyní: Xsara Picasso 2,0 HDi r.v.2001 stříbrný tahoun. A bohužel věčná špindíra na podložkách s polepenou prdelkou. Těžko nás přehlídnete
Dříve: Xsara Break 1,9TD r.v.1998